半导体用接头NCV SUS 新机械NEWMACHINE 快速接头 NCV SUS
品牌/型号
新机械NEWMACHINE/NCV SUS
特 長 | | カタログ(PDF) | | |
| ○ | 本体材質はステンレス304です。 |
| | | ○ | シール材質は流体(薬液?純水?エアー?ガス等)によりフッ素ゴム?エチレンプロピレンゴム?パーフロ等選べます。 | | ○ | 小型軽量です。 | | | |
|
|
|
|
タイプ | NCV-4F?6F | NCV-Rc | 本体材質 | SUS304 | SUS304 | 最高使用圧力 MPa (Kgf/cm²) | 0~0.5(0~5) | 0~0.6(0~6) | 耐圧力 MPa (Kgf/cm²) | 0.98(10) | 9.8(100) | クラッキング圧力 MPa (Kgf/cm²) | 0.02 (0.2) | 0.05 (0.5) | 使用温度 | 5℃~ 100℃ | 5℃~ 100℃ | 接続口径 | ワンタッチ ø4?ø6?5M | Rc1/8"?1/4"?3/8"?1/2" | シール材質 | フッ素ゴム?ニトリルゴム | フッ素ゴム?エチレンプロピレンゴム? パーフロ |
|
|
液体の通過 | 流体は製品に表示の矢印の方向に流します。 | |
|
|
| | 製品記号?寸法表 | | | 
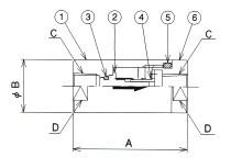
| | № | 部 品 名 | 個数 | 材 質 | 1 | 本体 | 1 | SUS | 2 | バルブ本体 | 1 | SUS | 3 | バルブOリング | 1 | フッ素ゴム | 4 | スプリング | 1 | SUS | 5 | O-リング | 1 | フッ素ゴム | 6 | アダプター | 1 | SUS |
| | 型 式 | A (㎜) | B (㎜) | C (接続ネジ) | D (㎜) | NCV-304-Rc1/8 | 43 | 20 | Rc1/8 | 二面幅17 | NCV-304-Rc1/4 | 50 | 22 | Rc1/4 | 二面幅19 | NCV-304-Rc3/8 | 55 | 26 | Rc3/8 | 二面幅23 | NCV-304-Rc1/2 | 65 | 30 | Rc1/2 | 二面幅27 | NCV-304-M5 | 30 | 10 | M5 | 二面幅8 |
|
| | | 
| | № | 部 品 名 | 個数 | 材 質 | 1 | 本体 | 1 | SUS | 2 | 継手 | 2 | SUS | 3 | Oリング | 1 | フッ素ゴム | 4 | バルブ本体 | 1 | SUS | 5 | スプリング | 1 | SUS | 6 | Oリング | 2 | フッ素ゴム |
| | 型 式 | (A) (㎜) | B (㎜) | C(接続チューブ外径) (㎜) | NCV-304-4F | 50 | ø16 | ø4 | NCV-304-6F | 50 | ø16 | ø6 |
|
|
|
|
①本体材質 | ②接続 4F | ワンタッチ ø4 | 6F | ワンタッチ ø6 | Rc1/8 | Rc1/8 | Rc1/4 | Rc1/4 | Rc3/8 | Rc3/8 | Rc1/2 | Rc1/2 |
| ②シール材質 NBR | ニトリルゴム | VT-20 | フッ素ゴム | P | パーフロ | EPT | エチレンプロピレンゴム |
|
|