型号:J/L11H/Y-16~320
节流阀的外形结构与截止阀并无区别,只是它们启闭件的形状有所不同。节流阀的启闭件大多为圆锥流线型,通过它改变通道截面积而达到调节流量和压力。节流阀供在压力降极大的情况下作降低介质压力之用。
介质在节流阀瓣和阀座之间流速很大,以致使这些零件表面很快损坏-即所谓气蚀现象。为了尽量减少气蚀影响,阀瓣采用耐气蚀材料(合金钢制造)并制成顶尖角为140~180的流线型圆锥体,这还能使阀瓣能有较大的开启高度,一般不推荐在小缝隙下节流。
节流阀的特点
1、构造较简单,便于制造和维修,成本低。
2、调节精度不高,不能作调节使用。
3、密封面易冲蚀,不能作切断介质用。
4、密封性较差。
安装与维护事项
节流阀的安装与维护应注意以下事项:
该阀经常需要操作,因此应安装在易于方便操作的位置上。
安装时要注意介质方向与阀体所标箭头方向保持一致。
节流口堵塞原因:
1、油液中的机械杂质或因氧化析出的胶质、沥青、碳渣等污物堆积在节流缝隙处。
2、由于油液老化或受到挤压后产生带电的极化分子,而节流缝隙的金属表面上存在电位差,故极化分子被吸附到缝隙表面,形成牢固的边界吸附层,吸附层厚度一般为5~8微米,因而影响了节流缝隙的大小。以上堆积、吸附物增长到一定厚度时,会被液流冲刷掉,随后又重新附在阀口上。这样周而复始,就形成了流量的脉动。
3、阀口压差较大时,因阀口温度高,液体受挤压的程度增强,金属表面也更易受摩擦作用而形成电位差,因此压差大时容易产生堵塞现象。
减轻节流口堵塞的措施
1、选择水力半径大的薄刃节流口。
2、精密过滤并定期更换油液。
3、适当减小节流口前后的压差。
4、采用电位差较小的金属材料、选用抗氧化稳定性好的油液、减小节流口表面粗糙度。
节流阀的应用
由于节流阀的流量不仅取决于节流口面积的大小,还与节流口前后的压差有关,阀的刚度小,故只适用于执行元件负载变化很小且速度稳定性要求不高的场合。
对于执行元件负载变化大及对速度稳定性要求高的节流调速系统,必须对节流阀进行压力补偿来保持节流阀前后压差不变,从而达到流量稳定

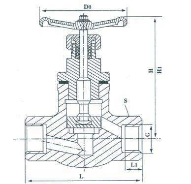
PN1.6、2.5、4.0MPa主要尺寸及重量
公称通径DN 锥管螺蚊Rc/in 尺寸/mn 重量(kg)
L I Do H H1
15 Rc1/2 110 12 120 208 220 3
20 Rc3/4 130 12 120 213 227 5
25 Rc1 140 14 140 220 236 6
32 Rc1 1/4 160 16 140 245 265 8
40 Rc1 1/2 180 18 160 274 300 11
50 Rc2 200 20 180 304 336 16
PN6.4、10.0、16.0MPa主要尺寸及重量
公称通径DN 锥管螺蚊Rc/in 尺寸/mn 重量(kg)
L I Do H H1
15 1/2 110 12 120 215 230 3.5
20 3/4 130 12 120 250 275 5.5
25 1 140 14 140 270 295 7
32 1/4 160 16 140 318 348 9
40 1/2 180 18 160 350 380 12
50 2 200 20 180 400 413 18