一 、产品概述
QXN型内装式潜水电泵,是本公司自行设计的新一代产品,该产
品结构紧凑,外形美观,质量可靠,是新老客户值得信赖的产品。
二、主要特点
1、结构紧凑、体积小、外形美观,其立式结构决定安装占定面积小。
2、采用下吸上排式自冷结构。泵电机可裸露于液体外运行。其
冷却性能卓越,电泵的使用寿命更高。
3、运行平稳、噪声低、组件同心度高。
4、密封可靠、无泄漏。机械密封动、静环均采用硬质合金等耐
磨材料,确保介质无泄漏。
5、设计合理,性能优良,效率高,经久耐用,安全可靠,便于维修。
6、扬程在70m以上的电泵装有逆止阀,确保电泵在停机时的安全。
7、建议用户配备全自动安全保护控制器,对电泵的漏水、漏
电、缺相、过载等进行保护,以便确保产品的安全与可靠性。
三、使用场所
QXN型内装式工程潜水电泵以其优越的使用运行性能,可广泛地
应用于国民经济的许多领域。
1、水利工程、地下工程、基建工程及其他工程建设作业面水的疏排。
2、工矿、船运方面的水塔给水,生产供排水,井下提水、矿山
排水、船舶舱底排水等。
3、雨后排涝、洼地防汛。
4、农业排灌:水田排灌、旱土井灌、园林浇水。
5、喷灌、冲洗、消防等场所。
四、工作条件
1、输送清水或物理化学性质类似清水的其他液体;
2、介质温度不超过40℃;
3、电泵潜水深度不超过5m;
4、介质的PH值在6-8范围内;
5、介质中含固体不溶物体积不超过单位体积0.1%,粒度≤0.2mm。
五、型号意义

六、主要技术参数

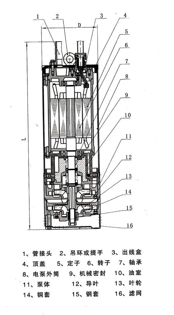
七、结构说明
QXN型内装式工程潜水电泵的结构图见下图。该类型潜水泵由电
机、密封、水泵和电泵外筒四部分组成,水泵与电机同轴直联。

1、电机部分
电机为一点吧上部,为三相鼠笼感应式干式电机。绝缘等级为B
级,4KW及以下电机绕组采用星型接法,4KW以上电机采用三角形接
法,无论是星型接法,还是三角形接法,电机都只出三根线与电缆相
连接。电机所用电缆为YZW型或性能相当的其他型号。
2、密封部分
密封分为动密封和静密封两部分。
动密封位于电机轴伸 出的油室内,油室中充满5号至10号机械
油,以利于动静磨块付的润滑和散热。该系列电泵的动密封有整体式
密封结构、两个单端面密封后,根据扬程和机型的需要而定,这三种
密封结构能够起到良好的动密封作用。静密封位于电泵零件止口配合
处,采用“O“性耐油橡胶密封环,可以起到很好的静密封作用。
3、水泵部分
水泵位于电机的下端,为下吸式结构,各种规格的泵均采用离心
式,有叶轮、导叶、泵体、泵盖和进水格栅组成,多级泵增加了叶
轮、中间泵体和中间导叶,水从泵盖下部通过滤网进入泵内,因而更
具有排尽表层浅水的能力。
4、电泵外筒部分
电泵外筒位于电机机座的外层,上与顶盖、下与泵体相联,两端
止口采用“O”性密封环密封,外筒与机座形成夹层,水从夹层流过,
通过顶盖排出泵外,电机运行产生的热能由流过夹层的水带走,因而
具有良好的自冷效果,极大地提供了电机的可靠性,延长了电机的使
用寿命。因而潜水电泵的电机亦可不需要全部侵入水中使用。
八、装拆顺序
1、电泵的装配
电机装配顺序:
定子-- 顶盖-- 出线盒-- 转子组装(包括轴承压装)-- 下端
盖-- 用套筒将转子轻轻敲打到位-- 机械密封--扩涨件--油室--试气
压-- 油室注油--电机外筒。
水泵装配顺序:
单级泵的装配方法是在已装好的电机上装泵体-- 装导叶-- 装
叶轮-- 止动垫圈--叶轮螺母--泵盖(底座)-- 滤网-- 接头-- 提
手。 注意装配时各止口应涂钙基黄油。
双级泵和多级泵的装配顺序与单级泵基本相同,只是多级泵
在装配时每增加一级多装一个叶轮、一个导叶、一个泵体而已。
2、电泵的拆卸
电泵的拆卸按装配相反的顺序进行。



