


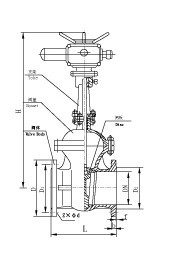
用途:本阀适用全开全闭的各种管道,不用于节流。
主要零件材料:
零件名称 | 材料 |
阀体、阀盖 | WCB |
闸板 | 碳钢+不锈钢/硬质合金 |
阀杆 | 不锈钢 |
阀杆螺母 | 铜 |
性能规范
型号 | 公称压力(Mpa) | 试验压力(Mpa) | 适用温度(℃) | 适用介质 |
强度(水) | 密封(水) |
Z940/941/40/41Y—16C | 1.6 | 2.4 | 1.8 | ≤425 | 水、蒸汽、油品 |
闸阀具有以下优点:
1、流动阻力小。阀体内部介质通道是直通的,介质成直线流动,流动阻力小。
2、启闭时较省力。是与截止阀相比而言,因为无论是开或闭,闸板运动方向均与介质流动方 向相垂直。
3、高度大,启闭时间长。闸板的启闭行程较大,降是通过螺杆进行的。
4、水锤现象不易产生。原因是关闭时间长。
5、介质可向两侧任意方向流动,易于安装。闸阀通道两侧是对称的。
6、结构长度(系壳体两连接端面之间的距离)较小。
7、密封面易磨损,影响使用寿命。启闭时,闸板与阀座两个密封面相互摩擦滑动,要介质压力作用下易产生擦伤磨损,影响密封性能,缩短使用寿命。
8、价格较贵。接触密封面较多,加工较复杂,特别是闸板座上的密封面不易加工,而且零件较多。
9、形体简单 , 结构长度短,制造工艺性好,适用范围广。
10、结构紧凑,阀门刚性好,通道流畅,流阻数小,密封面采用不锈钢和硬质合金,使用寿命长,采用PTFE填料.密封可靠.操作轻便灵活.


本公司郑重承诺:
a. 产品的各项性能达到国家标准及有关优等品的规定标准。
b. 在正确安装,使用的条件下,产品出现种类质量问题如确系本公司产品质量问题,本公司将负责到底,并无偿进行包退、包修、包换。
c. 本公司承诺:三保四包:保质、保量、保及时、包修、包换、包退、包损失









