一、概述
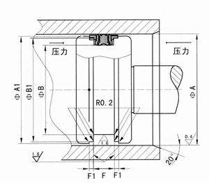
DAS组合封是个双作用的活塞密封件,由三部分组成:一个弹性体A、两个支承环B、两个导向环C。
弹性体A有一个特别截面,三个密封唇口紧贴缸壁(动密封)。中间唇口较厚,起主要密封作用,其他两个唇口起辅助密封作用。底侧与活塞沟槽底部紧贴(静密封),接触面相对较大。
支承环B置于A两侧起定位作用。来支承弹性体A并防止A出现径向密封间隙。支承环B呈阶梯状,与密封元件接触的一侧有许多凸块用以防止密封圈在工作时旋转。
导向环C呈矩形,装在活塞上起导向和吸收轴向力的作用。导向环上下都开了几条轴向槽,使压力油能流过导向环,从而使弹性体A能感受全部工作压力并在换方向时快速释放压力。这样就很好的防止了在弹性体A前产生持续超高压。
DAS组合封材料的硬度从内到外逐步增加,根据其特点,分别起到密封、支承和导向作用。DAS组合封为自紧双作用密封件。在初始状态,弹性体A变形产生一个径向预紧力,并随着系统压力的增加而增加,从而产生一个完全的密封作用力,即使系统没有压力也能起到密封效果。
二、性能与用途
DAS组合封是一个密封及导向元件只需一个沟槽的整体密封。装入封闭式沟槽,每个活塞用一个。紧凑的密封结构使活塞(油缸)总长度较短,降低了加工成本并有着极佳的抗间隙积压性能。工作时弹性体不会扭转,有着合理的泄漏一减少摩擦。主要用于活塞及液压缸的密封。如:推土机、挖掘机、装载机、起重机、液压闸门及农业机械等。
三、材质
A弹性体----丁晴橡胶
B支承环----尼龙或聚氨酯
C导向环----尼龙或聚甲醛
四、工矿条件
温度:-30℃~+120℃
最大工作压力:35MPa
最大运动速度:0.5m/s
介质:石油基液压油、难燃液压油、环保液压油

?