

公司的主要生产产品:JZO、TZD系列座式振动电机、YZS、YZO系列卧式振动电机、YZUL系列旋振筛专用立式振动电机、YLJW系列微型力矩电机、YLJ系列力矩电机、YLJT系列可调力矩电机,以及旋振筛、矿用筛、直线筛、振动给料机(斗)、振动磨机、振动输送机等产品。
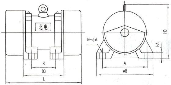
北电牌JZO系列振动电机是动力源与振动源结合为一体的激振源,振动电机是在转子轴两端各安装一组可调偏心块,利用轴及偏心块高速旋转产生的离心力得到激振力。振动电机的激振力利用率高、能耗小、噪音低、寿命长。振动电机的激振力可以无级调节,使用方便,JZO、YZU、YZO、 YZS、YZD、TZDC 等型号的振动电机为通用型振动电机。振动电机可以应用于一般振动机械,如:振动破碎机、振动筛分机、振动打包机、振动落砂机、振动造型机、振动打桩机、振动提升机、振动充填机、料仓的振动破拱防闭塞装置等等。广泛的应用在水电建设、火力发电、建筑、建材、化工、采矿、煤炭、冶金、轻工等工业部门。JZO系列振动电机 振动电机除了可以应用与一般振动机械外,还可以组合多种振动形式。如:平旋型,涡旋型,摇动振动型,组合直线型,组合长椭圆型,复合双频型,复合双幅型等。由这些振动形式可以产生出一些过去所没有的新型振动机械。
新乡市北方电机有限公司专业致力于电机制造和振动制造和振动利用工程的研究、设计和开发。现已生产振动电机、力矩电机、制动电机、调速电机和电机振动机械,可充分满足不同行业新老机械设备的配套,改选和更换。
北电公司的注册商标“北电”是振动行业知名品牌,受国家法律保护。商标注册证号:第3404662号。
北电公司已全面通过ISO9001:2000国际质量管理体系认证,CQC认证号:0104Q125869ROS/4100。
北电公司是国家行业标准JB/T5330《三相异步振动电机技术条件》的主要起草单位,并按该标准设计制造了YZS系列振动电机及其派生系列。
新乡市北方电机有限公司位于豫北名城——新乡市。新乡南邻黄河,北依太行,是中华民族的最早发源地之一。历史上著名的牧野 大战就发生在这片广袤的大地上。新乡地处中原,交通便利,京广、太(原)石(臼巷)两大铁路干线在新乡交汇;107、106国道、京珠高速公路贯穿辖区。新乡历史悠久,有豫北明珠百泉景区,国家级森林公园白云街,名扬中外的郭亮影视村,以险、峻、秀著称的八里沟太行风光。还有林氏祖祠比干庙、小店河清代民居、徐世昌大总统家祠、国家级文物保护单位。潞王陵、黄河故道湿地、自然生态保护区天鹅湖、陈桥驿赵匡胤黄袍加身处、毛遂故里、古博浪沙、夏家大院、同盟山武王庙等景区。新乡人自古以来热情好客,北电公司诚邀四海宾朋到这里来做客,旅游观光。
新乡市北方电机有限公司是一家专业制造振动电机、力矩电机的股份制企业,企业的前身是新乡市北方激振设备厂,生产特种电机已有十几年的历史。企业全面通过ISO9001:2000国际质量管理体系认证。是振动电机国家行业标准主要起草单位之一。产品销售至首钢、太钢、石钢、唐钢、南风、山西煤炭、湖北粮机、海化集团、冀东水泥、中国二砂、水冶炼铁、江苏干燥等大中小型企业,并取得了良好的信誉。
公司科研部门有着雄厚的实力,现有电机、电器、机械、质量等专业工程师16人,公司总经理庞文谨毕业于郑州工业大学电机系,从事特种电机设计开发已有十五年,有着丰富的设计经验和企业管理经验。近年来根据市场需求,不断推出具有自主知识产权的新产品,并根据客户反馈,对原有的产品进行不断改进和优化设计。在引进消化国外先进振动电机、力矩电机产品方面及结合国内用户对产品的实际情况方面取得了许多重要成果。
公司的主要生产产品:JZO、TZD系列座式振动电机、YZS、YZO系列卧式振动电机、YZUL系列旋振筛专用立式振动电机、YLJW系列微型力矩电机、YLJ系列力矩电机、YLJT系列可调力矩电机,以及旋振筛、矿用筛、直线筛、振动给料机(斗)、振动磨机、振动输送机等产品。
公司自成立以来,在精心设计、精心制造加工的同时,注重对外购材料如轴承、漆包线、导磁材料、标准件等的质量把关,杜绝使用质次价廉的非正规厂商的外购件,以确保产品品质优良。使得我们的北电品牌得到各行业用户的信赖,取得了良好的经济效益和社会效益。
联系人:庞经理
联系电话:0373-3382768
联系手机:18903808123
联系地址:新乡市和平大道北段
参考网站: