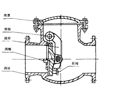
概述:旋启式止回阀又称单向阀或逆止阀,其作用是防止管路中的介质倒流。启闭件靠介质流动和力量自行开启或关闭,以防止介质倒流的阀门叫止回阀。止回阀属于自动阀类,主要用于介质单向流动的管道上,只允许介质向一个方向流动,以防止发生事故。本类阀门在管道中一般应当水平安装。
标准与规范:
1.设计与制造: GB/T 12235-89
2.法兰标准: JB/T 79-94
3.阀门压力试验: GB/T 13927-92
您对此产品的咨询信息已成功发送给相应的供应商,请注意接听供应商电话。
对不起,您对此产品的咨询信息发送失败,请稍后重新发起咨询。