'
产品简介
 | 因CdS光敏电阻,属于硫化镉光敏电阻(CdS Photoconductive Cell),其主要成份为镉,不能符合欧盟的RoHS标准。为适应市场环保要求,我公司推出全系列环保光敏传感器,采用进口芯片制作,具有测量范围广、精度高、灵敏度好、一致性好、符合ROHS标准等特点。一般情况下,完全可以替代传统CdS光敏电阻;广泛应用于太阳能灯、光控灯、光控开关、小夜灯、摄像头等产品上。用于调节背景光,如LCD显示器,电视,PDA,照相机和移动电话等;也可用于控制照明设备和玩具等多个领域。公司的科研人员,经过不懈的努力,在原来产品的基础上,又开发出新抗红外、耐高温、大电流等一系列光敏传感器产品。也可以根据客户需求来设计定做。 |
公司简介
深圳市沃德一佳科技有限公司是从事光敏元件研究开发和生产的专业集团公司。公司有强大的科研队伍和专业的生产线。2010年获得科技部专项资金扶持。主要产品有:光敏传感器、光敏电阻、环境光探测器、线性光耦、热释电红外传感器、次蓝硅、产品直插、贴片光敏传感器系列齐全,广泛应用于各种光控产品:如小夜灯、太阳能灯、光控玩具、电子书、验钞机、监控摄像头、专业功放音响等。我们自主研发了多款新型产品,现已获专利,已有大量经销商与我们合作,同时其他产品品种也极多,欢迎国内外厂商洽谈合作。
精品推荐
 EKPD111A/011A/011B |  EKPD021B |  EKPS021A |  EKPS021B |  EKPS021B3526L |
 EKPS021C |  EKPS021C346 |  EKPS021C3385 |  EKPS021C335 |  EKPS021C338 |
 EKPS021D |  EKPS021D1 |  EKPS3526 |  EKPS021DL |  EKPS021B230L |
 EKPD021BL |  EKPS021BL |  EKPS021M金属壳 |  EKPSMD021 |  EKPSMD3526 |
产品特点
无论是对光线的感应还是对可见光光线的测量。光敏传感器都可以提供许多非常优秀的解决方案。并且是一款成本非常经济的产品,他的特点和功能可以概括如下:
● 它是一款低成本的光探测的光电元件。
● 封装形式多样化,有环氧树脂封装、贴片封装 。
● 在非常低的照度(全暗0 Lux)和瞬时强光(照明灯光强度)的切换时,具有非常高的反应速度。
● 体积小,最小体积可以做到贴片SMD0805。
● 易于使用在DC电路-光敏传感器电流随光的变化而变化。
● 对光的可见光感应的种类很多,例如LED光源、霓虹灯、白炽灯、日光灯、激光器、火源、阳光等。
● 产品技术指标可根据客户要求提供相应的解决方案。
● 增益电流放大IC
● 拥有自主专利证书,专利号:ZL 2009 2 0089315.2
主要应用
光敏传感器广泛应用于不同类型的电路中,例如:
● 照相机自动测光 ● 光电控制 ● 室内光线控制 ● 光控音乐IC ● 工业控制 ● 光控开关 ●光控灯
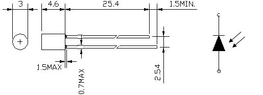
光敏传感器结构示意图尺寸(mm)

部件名称 | 是否符合ROHS批令 | 声明 |
环氧树脂胶 | 是 | -- |
光敏IC | 否 | -- |
电极(金线、银胶) | 是 | -- |
支架 | 是 | -- |
引脚 | 是 | -- |
极限参数Ta=25℃
特性参数 | 符号 | 额定值 | 单位 |
正向击穿电压 | Vdd | 70 | 伏 |
反向击穿电压 | -Vdd | 7 | 伏 |
最大功耗 | PD | 450 | 毫瓦 |
工作温度 | Topr | -25~+70 | 度 |
储存温度 | Tstg | -25~+80 | 度 |
焊接温度(5秒)※1 | Tsol | 260 | 度 |
※1在离胶体底部4mm处焊接,焊接温度控制在额定值内,时间在5秒以内。
光电特性Ta=25℃
参数 | 符号 | 测试条件 | 最小 | 典型 | 最大 | 单位 |
亮电流 | EKPS021C346 | Iss(Vdd=5V Rss=1k) | Vdd=5V, Ev=10Lux | | 70 | | 微安 |
Vdd=5V, Ev=20Lux | | 105 | |
Vdd=5V, Ev=100Lux | | 385 | |
暗电流 | Idrk | Vdd=5V, Ee=0※2 | | | 10 | 纳安 |
光谱灵敏度 | λ | | 480~1050 | 纳米 |
饱和压降 | Vdd-Vss | | | 0.3 | | 伏 |
反应时间(上升) | tr | Vdd=5V, Rss=1K | | 3.2 | | 微秒 |
反应时间(下降) | tf | | 4.8 | | 微秒 |
※ 2Ev,Ee测试光源采用2854K色温光源。
可根據生产产品与客服联系选择合适型号,可提供样品试样,欢迎新老顾客前来洽谈.
光敏传感器光谱响应曲线


光敏传感器包装

使用注意事项
● 不要在超出产品规格范围的情况下使用本产品。
● 本说明书中提到的应用电路仅作为标准使用范例,请注意根据外围设施来设计电路并调整参数设置。
● 应注意保证焊接温度不能超过额定范围,在焊接过程中或焊接完毕时应避免有外力作用于引脚.不可重复焊接,注意引线焊接位置应距陶瓷基座4mm以上。
● 产品表面的损伤和污染均会影响产品的使用效果。
● 本产品采用环氧树脂封装,避免在过于潮湿环境中使用。
'