

温馨提示
产品价格、参数等仅供参考,详情请来电或旺旺咨询!
为保证您顺利采购,请您在下单前与我们联系沟通!谢谢配合!
上海文质阀门制造有限公司
联系电话:021-67105510
移动电话:13661888967
A21F、A21H弹簧微启式外螺纹安全阀

A21H、A21F弹簧微启式外螺纹安全阀适用于工作温度≤200℃的空气、氨、石油气……等介质的设备或管路上。A21W-P、R型适用于温度≤200℃有腐蚀性的气体或液体的设备或管路上,作为超压保护装置。KA21Y型适用于温度≤100℃的液化石油气等。
弹簧微启式外螺纹安全阀主要零部件材料
NO. | 零件名称 | A21H-C/A21F材料 | A21W-P/A21F-P材料 | A21Y-R材料 |
1 | 管接头 | 20 | 1Cr18Ni9Ti | 1Cr18Ni12Mo2Ti |
2 | 管接头螺母 | 35 | 2Cr13 | 1Cr18Ni9Ti |
3 | 阀座 | 35 | 1Cr18Ni9Ti | 1Cr18Ni12Mo2Ti |
4 | 阀体 | 2Cr13 | 1Cr18Ni9Ti | 1Cr18Ni12Mo2Ti |
5 | 阀瓣 | 2Cr13/2Cr13+PTFE | 1Cr18Ni9Ti/1Cr18Ni9Ti+PTFE | 1Cr18Ni12Mo2Ti |
6 | 弹簧座 | 2Cr13 | 1Cr18Ni9Ti | 1Cr18Ni12Mo2Ti |
7 | 弹簧 | 50CrVA | 50CrVA包覆氟塑料 | 50CrVA包覆氟塑料 |
8 | 锁紧螺母 | Q235-A | ZG230-450 | 1Cr18Ni9Ti |
9 | 弹簧导向垫 | 2Cr13 | 1Cr18Ni9Ti | 1Cr18Ni12Mo2Ti |
10 | 调节螺母 | Q235-A | 2Cr13 | 1Cr18Ni12Mo2Ti |
| 密封面材料 | "Y"型堆焊Co基硬质合金,"H"型堆焊D507,"W"型为阀门本体 |
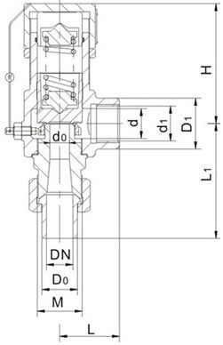
■弹簧微启式外螺纹安全阀外形尺寸和连接尺寸

型号 | 公称通径 | do | d | Do | M | d1 | D1 | L | L1 | ≈H |
KA21-16C A21H-16C A21H-40 A21W-16P A21W-40P KA21-16P | 15 | 12 | 15 | 20 | M27×1.5 | G1/2" | 30 | 35 | 76 | 66 |
20 | 16 | 20 | 25 | M33×1.5 | G3/4" | 35 | 40 | 87 | 68 |
25 | 18 | 25 | 31 | M39×1.5 | G1" | 40 | 50 | 100 | 105 |
A21Y-64 A21Y-64P A21Y-100 A21Y-100P | 15 | 10 | 15 | 25 | M39×1.5 | G1" | 44 | 50 | 100 | 66 |
20 | 10 | 20 | 31 | M39×1.5 | G1" | 44 | 50 | 100 | 68 |
25 | 12 | 25 | 31 | M39×1.5 | G1" | 44 | 50 | 100 | 105 |
A21W-160/160P | 15 | 8 | 20 | / | M24×2 | G1" | 44 | 50 | 100 | 261 |
20 | 8 | 25 | / | M33×2 | G1" | 44 | 50 | 100 | 261 |
25 | 8 | 28 | / | M36×2 | G1" | 44 | 50 | 100 | 285 |