'



户外隔离开关
一:概述:
GCD-2-12KV型户外隔离开关是单相交流50Hz高压开关设备,用于10KV的电力系统中,作为有电压无负载的情况下接通或分断电源使用。
本产品为单断口垂直打开式结构,单极隔离开关支柱绝缘子安装在各自底架上,主要由底座、支柱绝缘子、主导电回路部分、自锁装置等组成。采用闸刀式结构分合闸达到切断和闭合线路。每相闸刀由两片导电刀片组成,刀片两侧外装有压缩弹簧,调节弹簧的高度可以得到开关闸刀所需要的接触压力。开关分合闸时用绝缘钩棒操作机构部分,闸刀有自锁装置。
隔离开关分合时用绝缘钩棒操作,绝缘钩棒扣住隔离开关锁钩,拉动锁钩向分闸方向,解开自锁装置后带动与之相连的导电板旋转实现分闸动作,合闸时由绝缘钩棒顶住隔离开关锁钩带动转轴旋转,使之相连的导电板转动至合闸位置,此时自锁装置将隔离开关锁定在合闸位置。
本型隔离开关可安装于支柱、墙壁、天花板、横架或金属架上,也可以立装、斜装,但安装位置应使触刀打开时趋向下方。
二:使用环境:
1, 海拔高度:≤1000m;
2, 环境温度:-30度~40度,高寒地区≤-40度;
3, 风压:≤700Pa,(相当于风速34m/s);
4, 地震强度:≤8度;
5, 无频繁剧烈震动场所;
6, 普通型安装场所应无严重影响隔离开关绝缘和导电能力的气体、蒸气、化学沉积、盐雾、灰尘及其它爆炸性、侵蚀性的物质。防污型适用于污秽地区,但不应有引起火灾及爆炸物质。
三:技术参数:

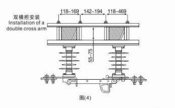
四:安装图




五:订货须知
1, 产品型号;
2, 产品额定电压;
3, 产品额定电流;
4, 产品属性:防污型或是普通型;
5, 如有特殊要求请告知我司。
'