购买须知:
订货前请咨询配置、材质及交货期再定。标价为标准配置价格,设备价格随配置不同、材料的波动而各有差异,具体以询价为准。

用途:
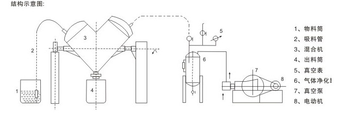
VH系列V型混合机用于制药及其它行业的粉状或粒状物料混合之用。
特点介绍:
1.本系列混合机具有高效混合型和普通混合型两种。
2.高效型混合机主要对较细的粉粒或对一种主料含量较少的物料均能混合均匀,普通型混合机主要适用于一般物料或产量较大的企业使用。筒体光滑无死角。
3.整机采用不锈钢制作,外型美观等特点,符合GMP标准。



可根据具体产量要求、物料密度定制最合适型号尺寸,欢迎电话咨询。










