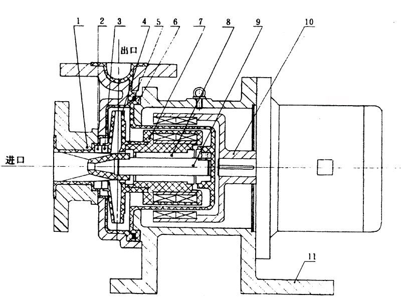
CQB-F氟塑料磁力泵 耐腐蚀磁力泵
查看供应商
查看完整图文
立即询价
其他相关图集
立式砂泵
日本原装正品 HEISHIN兵神 螺杆泵 NTH29FL
KYOWA共和手动试压泵T-300N
西门子高温油泵导热循环泵 原装进口多用炉机电一体化解决方案
日本TOKIMEC东机美大扭矩叶片马达MHT190-R1-35-JA-S12
水云间景观 低压喷泉泵 24V喷泉潜水泵 不锈钢喷泉泵
200VCP-55立式长轴泵大流量高效率稳定性噪音低
山东BQS165-30-22矿用隔爆潜水排沙电泵双电压大流量
日本SHOWA 润滑油泵LCA3
T3S660-46三螺杆泵
通用机械设备
>
泵与阀门
>
泵
>
获取验证码
允许同品行业优质供应商联系我
您对此产品的咨询信息已成功发送给相应的供应商,请注意接听供应商电话。
对不起,您对此产品的咨询信息发送失败,请稍后重新发起咨询。
关闭
登录
|
注册
首页
|
我的马可
触屏版
电脑端
马可波罗版权所有1999-2020