
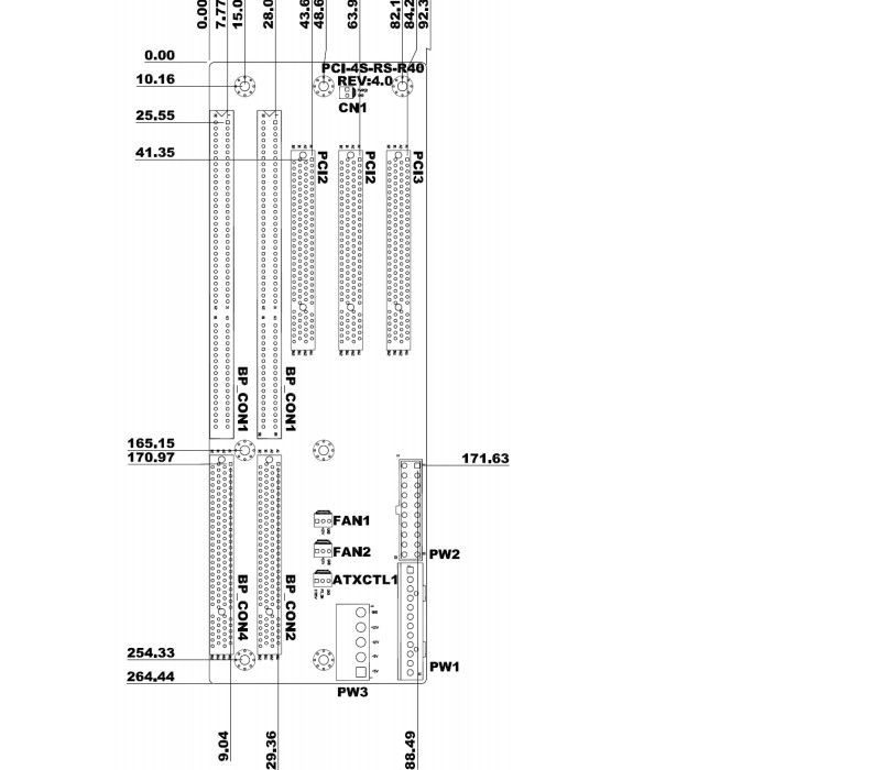
| 3 个 PCI 插槽和 1 个 ISA 插槽,共 4个插槽底板 |
|


值得信赖的专业服务方案提供商
深圳市创博威科技有限公司是一家专注于工业计算机领域的设计与销售工业计算机解决方案提供商。自成立以来在工业计算机领域的成长与积累,已成为值得客户信赖的专业合作伙伴。
在竞争激烈的工业计算机行业中,创博威凭借稳定的产品质量,灵活快速的服务模式,获得众多客户的肯定。各系列产品广泛应用于机器视觉,智能交通,工厂自动化、机房监控、ATE测试设备、精密仪器、车载电脑、金融自助终端、自助通关系统、电力通讯、医疗等领域,并在发展过程中与多家工业计算机的领头厂商建立战略合作伙伴关系。
创博威公司以顾客的实际应用为出发,充分利用公司的设计与行业从业经验的资源,为客户节约时间与人力成本,提供高性价比的定制产品和服务.