'
保温过滤器是在篮式过滤器的基础上焊装金属夹套,用于注入通蒸汽或导热油,以保持或提高流体的温度,防止流体凝固,提高粘性液体的过滤速度,或满足下一道工序对温度的要求。
 |

|
 |
保温过滤器产品简介: 保温过滤器是在篮式过滤器的基础上焊装金属夹套,用于注入通蒸汽或导热油,以保持或提高流体的温度,防止流体凝固,提高粘性液体的过滤速度,或满足下一道工序对温度的要求。篮式保温过滤器采用整体式夹套结构设计,更能均匀地保温、保冷,夹套采用碳素钢管焊接比铸造的更加耐压牢固。 夹套、阀体外侧与夹套接管焊接,允许蒸汽或冷水的最高压力为1MPa。 保温过滤器采用夹套保温设计,夹套采用碳素钢或不锈钢焊接比铸造的更加耐压牢固。该产品具有良好的保温保冷特性,且能有效降低管路中介质热量损失。主要用于石油、化工、沥青、冶金、制药、食品等各类系统中,防止以输送常规下会凝固的高粘度介质回流。 保温过滤器工作原理: SRB篮式保温过滤器夹层保温型过滤器为双层结构,许多液体为了获得良好的输送性能,或者因温度下降会结晶或凝固,通常在过滤时对其保温,以使过滤更加容易进行或满足下道工序对温度的要求,这时保温夹层式过滤器便是您的上佳之选。中间层可以通导热油或蒸汽保温或加油,以保持或提高流体的温度,防止流体凝固,提高粘性液体的过滤速度,或满足下一道工序对温度的要求。 保温过滤器产品特点: 1、具有良好的保温保冷特性,同时又能有效降低管 路中介质热量损失。 2、应用广泛主要用于石油、化工、沥青、冶金、制药、食品等各类系统中,防止以输送常规下会凝固的高粘度介质回流。 3、夹套采用碳素钢管焊接比铸造的更加耐压牢固。 保温过滤器主要技术参数: 型号 | 连接形式 | 公称压力MPa | 试验压力MPa | 工作压力MPa | 壳体材料 | 过滤网材料 | 适用介质 | BGL41H-10 | 法兰 | 1.0 | 1.1 | 1.0 | 灰铸铁 | 1.1 | 水、油和气等 | BGL41H-16 | 法兰 | 1.6 | 1.76 | 1.6 | 球墨铸铁 | 1.76 | BGL41H-26 | 法兰 | 2.5 | 2.75 | 2.5 | 碳钢 | 2.75 |

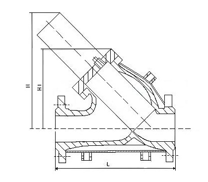
保温过滤器主要外形尺寸: 口径DN(mm) | 40 | 50 | 65 | 80 | 100 | 125 | 150 | 200 | 250 | 300 | 350 | 400 | 450 | BY41H | L | 200 | 220 | 260 | 280 | 320 | 350 | 380 | 495 | 595 | 640 | 700 | 800 | 850 | H | 100 | 130 | 165 | 195 | 230 | 300 | 335 | 420 | 500 | 580 | 640 | 700 | 790 |
保温过滤器法兰尺寸: 口径DN | 外径DN | 螺栓孔中心圆直径 | 连接凸出部分直径D2 | 连接凸出部分高度f | 法兰厚度b | 螺栓孔径和数量Z-∮d | PN=0.1MPaPN=0.25MPaPN=0.6MPa | 32 | 120 | 90 | 70 | 2 | 16 | 4-14 | 40 | 130 | 100 | 80 | 3 | 16 | 4-14 | 50 | 140 | 110 | 90 | 3 | 16 | 4-14 | 65 | 160 | 130 | 110 | 3 | 16 | 4-14 | 80 | 185 | 150 | 125 | 3 | 18 | 4-18 | 100 | 205 | 170 | 145 | 3 | 18 | 4-18 | 125 | 235 | 200 | 175 | 3 | 20 | 8-18 | 150 | 260 | 225 | 200 | 3 | 20 | 8-18 | 200 | 315 | 280 | 255 | 3 | 22 | 8-18 | 225 | 340 | 305 | 280 | 3 | 22 | 8-18 | 250 | 370 | 335 | 310 | 3 | 24 | 12-18 | 300 | 435 | 395 | 362 | 4 | 24 | 12-23 | 350 | 485 | 445 | 412 | 4 | 26 | 12-23 | 400 | 535 | 495 | 462 | 4 | 28 | 16-23 | 450 | 590 | 550 | 518 | 4 | 28 | 16-23 | 500 | 640 | 600 | 567 | 4 | 30 | 16-23 | 600 | 755 | 705 | 670 | 5 | 30 | 20-25 | 700 | 860 | 810 | 775 | 5 | 30 | 24-25 | 800 | 975 | 920 | 880 | 5 | 30 | 24-30 | 900 | 1075 | 1020 | 980 | 5 | 30 | 24-30 | 1000 | 1175 | 1120 | 1080 | 5 | 30 | 28-30 | 1200 | 1375 | 1320 | 1280 | 5 | 30 | 32-30 | |
|
 |
一、购物前:有任何问题,可以随时咨询哦,我们一定会耐心为你解答的。 二、关于产品的价格:部分网上价格仅供参考,具体产品价格请致电咨询卖家。 三、关于物流:具体物流方式和费用由买卖双方协商决定。 |
 |
浙江永嘉双联阀门有限公司座落在享有“中国泵阀之乡”美誉的温州瓯北镇,东方工业园区内。东临温州机场、温州港(龙湾国际集装箱码头),南接温州火车站及客运中心,西临金温铁路,北依104国道,紧邻甬台温高速公路。另有江心屿、雁荡山和楠溪江等国家级风景浏览区,交通便利,风景优美。 双联阀门现货常备铸钢和不锈钢材质阀门。主要产品有铸钢闸阀、铸钢截止阀、铸钢止回阀、铸钢球阀、铸钢蝶阀、不锈钢闸阀、不锈钢截止阀、不锈钢止回阀、不锈钢球阀、不锈钢蝶阀、水力控制阀、疏水阀、汽水分离器、锻钢阀门、减压阀、调节阀、排气阀、柱塞阀、过滤器、电磁阀、衬氟阀门以及非标阀门等十几个品种,两千多个规格。可按照最新的ANSI、API、DIN、BS、JIS、GB 标准设计制造。所生产阀门的主体材料有WCB、WC1、WC6、WC9、ZGCr5Mo、ZG15Cr1Mo1V、CF8、CF8M、CF3、CF3M、12CrMoV、ZG1Cr18Ni9Ti、ZG1Cr18Ni12Mo2Ti等;驱动形式有手动、蜗轮传动、电动、气动、液动、电液联动等;公称通径从DN10~3000及1/2″~40″;工作压力从0.6~42.0MPa及150Lb~2500Lb;工作温度-196℃~700℃。公司阀门产品可代加工生产,定做非标、铸钢、不锈钢、铬钼钢、衬氟等材质阀门。 欢迎新老客户莅临我公司参观指导! |
 |
永嘉双联阀门有限公司 联 系 人: 谢新秀 先生 (销售 经理) 电 话: 86 0577 67926555 传 真: 86 0577 67926588 移动 电 话: 15356226650 地 址: 中国 浙江 永嘉县 东方工业区振华路2路 邮 编: 325105 公司主页:http://www.sl-valve.cn/ http://sunlan1.cn.1688.com |
'