
申江简介
上海申江压力容器有限公司是国家质量技术监督局核准的D1、D2级(一、二类)压力容器设计、制造单位,是目前国内最大的储气罐制造商。能够生产0.3m3~50m3共100多个规格的系列储气罐。除此之外,按用户需求(来图来样)承接其它各种压力容器的设计、制造。上海申江连续二十年储气罐销量及市场占有率在同行排第一,在客户中一向以安全可靠的质量和良好的信誉著称。

申江&顺高长沙顺高机电自2007年开始与上海申江合作至今,因品质保障和贴心服务广受客户好评而成为申江全国最大代理商!三一重工、中联重科等搅拌站项目长期配套申江储气罐使用,其质量可靠,容积量大获客户赞赏!申江1m³储气罐重量达260KG,比其他品牌重30%,严把质量关,安全有保障。

申江储气罐应用于三一搅拌站

储气罐应用及注意事项储气罐常作为空压机配套设备一起使用,应用非常广泛,工程机械、医疗设备、食品加工等行业都要用到。储气罐存在一定的危险性,需要注意保养,这样就能更好的提高使用效率,延长使用寿命。在压力容器运行过程中,要防止压力容器的跑冒滴漏,跑冒滴漏不仅浪费原料和能源,污染工作环境,还常常造成压力容器设备的腐蚀,严重时还会引起容器损坏。发现储气罐防腐层损坏时,应及时修补后才能继续使用。

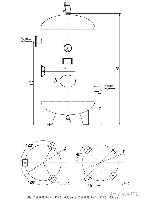
储气罐示意图

储气罐参数表
储气罐服务商长沙顺高机电22年来致力于空压机及后处理设备储气罐、冷干机的节能与改善,我们始终以“高效、节能、稳定”作为公司核心理念,让空压机设备以最低成本创造最高效益来回报广大新老客户对我们公司的信赖!服务热线400-705-5988 网址www.hnsgjd.com