1、 概 述
FZW32-12/630-20型户外高压隔离真空负荷开关是由我公司首家生产的高压电器产品,经严格的型式实验和长期试运行考核,各项技术性能指标全部达到GB3804和IEC标准,适用于额定电压12KV、额定电流630A、三相交流50Hz的供电网络中。

二、 说 明
a、采用真空灭弧室灭弧、无爆炸危险、不须检修。
b、隔离刀与三相真空灭弧室联动,分闸时有明显的隔离断口。
c、机体的零部件全部采用不锈钢材料,底架采用不锈钢材料或热镀锌外加防紫外线保护涂料的碳钢,确保了机体在户外环境下的正常运行。
d、安装方式以单杆式、手动操作为主,也可采用电动或远程遥控操作。
e、广泛适用农网、城网、铁路等配置电线路改造。
f、开断能力大、安全可靠、电寿命长、可频繁操作。
三、 工作原理
负荷开关是由隔离刀和真空灭弧室这两大组件组成,隔离刀承担了合闸和分闸时绝缘作用,真空灭弧室承担熄灭电弧的作用。
隔离刀是由弹簧过中机构进行合分闸操作的,过中弹簧提供了隔离刀合闸时所需的能量,并保证了真空灭弧室在分闸时熄灭电弧而不受人为因素的影响,真空灭弧室在隔离刀的分闸过程中,有快速机构提供灭弧室的分闸速度。隔离刀的三相联动操作确保了灭弧室的分闸同期性。
四、 型号含义

五、 使用环境条件
a、海拔不超过1000 m
b、周围空气温度:上限 +40℃ 下限 -30℃
c、相对湿度:日平均值大于95%, 月平均值不大于90 %
d、无经常剧烈振动。
六、 技术数据
序 号 | 名 称 | 单 位 | 参 数 值 |
1 | 额定电压 | KV | 12 |
2 | 额定频率 | Hz | 50 |
3 | 额定电流 | A | 630 |
4 | 额定有功负载开断电流 | A | 630 |
5 | 额定闭环开断电流 | A | 630 |
6 | 5%额定有功负载开断电流 | A | 31.5 |
7 | 额定电缆充电开断电流 | A | 10 |
8 | 额定空载变压器开断容量 | KVA | 1600 |
9 | 额定开断电容器组电流 | A | 100 |
10 | 1min工频耐受电压:真空断口、 相间、相对地 / 隔离断口 | KV | 42/48 |
11 | 雷电冲击耐受电压:相间、 相对地 / 隔离断口 | KV | 75/85 |
12 | 额定短时耐受电流(热稳定) | KA | 20 |
13 | 额定短路持续时间 | S | 4 |
14 | 额定峰值耐受电流(动稳定) | KA | 50 |
15 | 额定短路关合电流 | KA | 50 |
16 | 机械寿命 | 次 | 10000 |
17 | 这空灭弧室触头允许磨损厚度 | mm | 0.5 |
18 | 手动操作力 | Nm | ≤200 |
19 | 负荷开关真空灭弧室装配调整 | 触头开距 | mm | 5±1 |
平均分闸速度 | m/s | 1.1±0.2 |
三相分闸不同期 | ms | <5 |
三相合闸不同期 | ms | <2 |
带电体之间及相对地距离 | mm | >200 |
辅助回路电阻 | u.Ω | ≥400 |
七、FZW32 -12/630-20高压真空负荷开关安装方式及横宽度相距
安装方式 | 横向宽度 | AB相间间距 | BC相间间距 |
单杆水平装 | 1300 | 750 | 320 |
单杆侧装 | 1230 | 500 | 500 |
单杆侧装 | 1050 | 400 | 400 |
八、 基本结构图
本负荷开关是三相联动机构,主要由框架(5) 、真空灭弧室组件(1) 、隔离刀组件(3) 、以及过中弹簧机构(6) 组成,隔离刀 、真空灭弧室通过绝缘子固定于框架上 , 过中弹簧装于框架上 。

1、真空灭弧室 2、分闸弹簧 3、隔离刀组件
4、绝缘拉杆 5、框架 6、过中弹簧机构
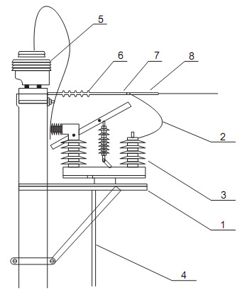
九、 安装方式及之件示意图
负荷开关的几种安装方式包括杆顶安装、水平安装、单杆侧装。
9.1、 单杆侧装(见图)
1、接线端子 2、抱箍 3、安装架(长支架、短支架)
4、负荷开关 5、电线杆 6、电源出线
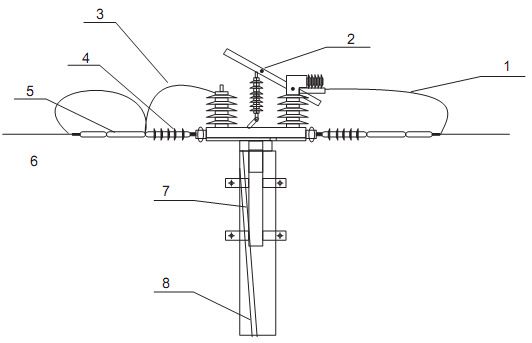
9.2、 水平安装方式(见图)

1、开关支架部件 2、连接铜排 3、负荷开关 4、操纵杆
5、CT 6、瓷拉捧绝缘子 7、叉型锁铐 8、耐张线
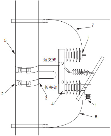
9.3、 水平安装方式(见图)

1、连接导线 2、负荷开关 3、连接铜排 4、瓷拉捧绝缘子
5、叉型锁铐 6、耐张线夹 7、开关支架 8、操纵杆
十、 操动机构
(1)手柄操作
a. 把操作手柄安装在负荷开关主轴一端,并用螺母紧固。
b.根据手柄两端分、合指示,在两端施加一定力,使主轴转动, 弹簧过中机构带电动隔离刀组件,真空灭弧室操作机构运动,实现了开关的关合与分断。
(2)杆下操作
a.负荷开关安装在电线杆上部,离地较高,操作杆超过三米则需加装中间支撑件。
(3)电动操作
a.电动操作机构与负荷开关配套使用,有三种操作方式:
——手摇操作
——现场按钮电动操作
——远程控制电动操作
具体使用方法:详见电动操作机构说明书
十一、调试、检修
a. 每台负荷开关出厂前均已调试好,用户在安装前原则上不再进行调试。
b.三相隔离刀分合闸不同期可调节绝缘杆长度来调整。
c.调节合分闸缓冲垫片的数量来限制隔离刀的起止点位置。
d.改变分闸弹簧的松紧可调节真空灭弧室的分、合闸速度。
e.可在分闸状态,合闸状态下测量真空灭弧室、隔离刀的触头弹簧的长度差来调整其触头压力。
f.隔离刀开距调整:
调节拉杆的长度可改变隔离刀的开距,确保隔离刀开距不少于180mm
隔离刀装配调整技术参数见表
序 号 | 名 称 | 参数值 |
1 | 隔离刀正压力 | 300±50N |
2 | 触刀最后分离点到静触头距离 | >180mm |
3 | 进出线端 | <150 UΩ |
4 | 机械寿命 | 10000次 |
维修、检修
产品在使用超出表中任一项规定时,应进行检查维护
序 号 | 内 容 | 检修维护 |
1 | 运行时间(月) | 12(36)* |
2 | 操作次数 | 2000 |
3 | 开断额定电流次数 | 2000 |
*可跟实际运行状况延长至36个月
维护内容:检验调整分、合闸位置、速度、行程等,检查紧固螺钉、螺母、机构传动部位,清洁绝缘表面
正索科技本着优质、高效、发展的精神,以优质的产品、贴心的服务为理念,并公开、负责地向您郑重
承诺如下:
1. 我厂出售的所有产品保修期为一年,保修期内免费上门维修(人为因素或不可抗拒的自然现
象所引起的故障或破坏除外)。
2. 在接到报修通知后,三个工作日内赶到现场并解决问题。
3. 用户可以通过售后电话咨询有关技术问题,并得到明确的解决方案。
4. 用户在正常使用中出现性能故障时,本公司承诺以上保修服务。除此以外,国家适用法律法规
另有明确规定的,本公司将遵照相关法律法规执行。
5. 在保修期内,以下情况将实行有偿维修服务;
(1)由于人为或不可抗拒的自然现象而发生的损坏;
(2)由于操作不当而造成的故障或损坏;
(3)由于对产品的改造、分解、组装而发生的故障或损坏。

