key,mac,tek,zfk-1浮球液位传感器,自动水位开关控制阀,浮球开关
一.性能特点:
1. "TEK-1"型浮球控制开关是一个能够调节桶-槽或井中液位的开关。它可自动调节-易于操作-便于安装-安全可靠-免予维修-无毒回收可再生的环保型浮球开关,可供水控制和排水控制。它对污水有抵抗作用,广泛应用于家庭-厂矿等的水池-油-酸和碱的池-桶-槽-罐等的容器之中。如果联两个控制器。一个放至水塔,另一个放至水井杰控制水泵,就能防止因水源不足开空泵而损坏水泵设备;也可以三有控制器串联,一个放至水塔,另一个放过滤池和一个放至河水(水井)能同时控件,就能防止因水源不足开空泵而损坏水泵设备;也可以三个控制器串联,一个放至河水(水井)能同时控制两台水泵设备。
二.安装及接线方法:
使用黄色和黑色的电线:
浮球在下液位时,接点是接通的状态。
浮球在上液位时,接点是不通的状态。
使用蓝色和黑色的电线:
浮球在上液位时,接点是接通的状态。
浮球在下液位时,接点是不通的状态。
三.技术参数:
额定电流:10(8A)~10(4A)
额定电压:250V~380V
工作温度:-10℃~60℃(塑料) -10℃~110℃(不锈钢)
控制范围:≥0.2m
工作寿命:≥50000
引线长度:1~5米
特殊长度及材料可按要求订制
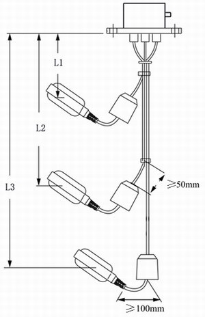
重锤的安装方法:
1.将浮球开关的电缆线从重锤的中心凹圆孔处穿入后,轻轻推动重锤,使嵌在圆孔上方的塑料环因电缆头之推力而脱落。(如果有必要的话,也可用螺丝起子把塑料环拆下)。再将这个脱落的塑料环套在电缆上你所想固定重锤以设定水位之位置。
2.轻轻地推动重锤拉出电缆,直到重锤中心扣住塑料环。重锤只要轻扣在塑料环上即不会滑落,此塑料环如有损坏或遗失可用同径裸铜线扣入电缆代替。
注:请将电缆线直接接到控制箱,尽量避免使用中间接头,若不得已有接头时,绝对不可将电缆线接头浸入水中。
浮球液位传感器与 液位继电器 配套使用
联系方式:13861873395
联系人:周天成
无锡银洲自动化设备厂



