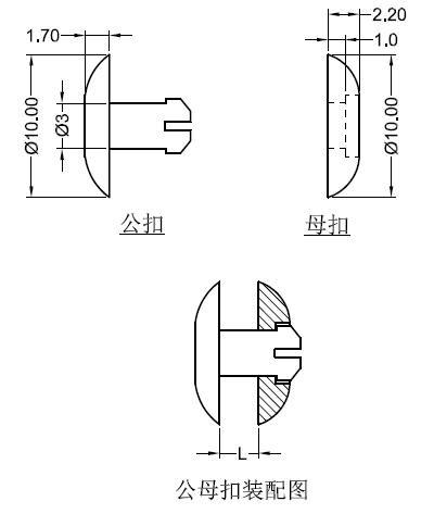
插扣 塑胶文具扣 塑料扣 装订扣 活页扣 按扣 塑胶卡扣
查看供应商
查看完整图文
立即询价
其他相关图集
特殊教育学校备,聋哑学校装备,特教学校唤醒振动器
扬州档案密集架 电动智能型密集柜厂家
不伤墙家庭荣誉墙 黏墙家庭文化墙 可移除不伤墙家庭荣誉
PP档案盒
防静电密封口工卡套 防静电工卡套 防静电厂牌套 密封工牌套
台湾利百代朱肉印台MS-30明色朱肉印泥
2019上海文具礼品展 中国上海办公用品礼品展
字母组合印章 2号英文活字连接印A-Z编码印字高7mm
烟台西部明珠国内机场贵宾商旅服务供应--拉绳笔文具
HC-810隐形胶带替代正品使用
文教办公用品
>
文具
>
其他文具及配件
>
获取验证码
允许同品行业优质供应商联系我
您对此产品的咨询信息已成功发送给相应的供应商,请注意接听供应商电话。
对不起,您对此产品的咨询信息发送失败,请稍后重新发起咨询。
关闭
登录
|
注册
首页
|
我的马可
触屏版
电脑端
马可波罗版权所有1999-2020