东莞市创驰塑胶制品有限公司是一家专业生产文具扣,子母扣,塑胶标准件及各种塑胶零配件的厂家,产品所采用的材质均为环保塑胶料,产品表面无杂质,油污,毛边等缺陷,质量保证
一、产品描述:
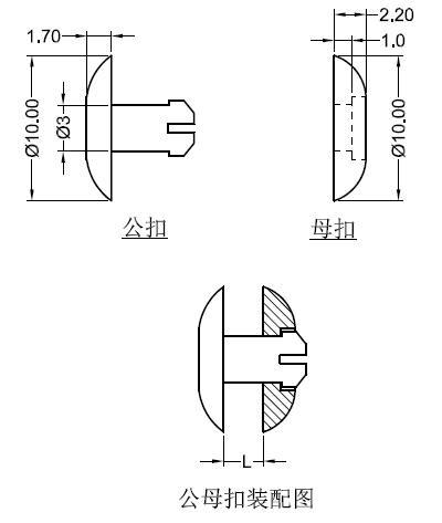
1、规格:具体尺寸规格详见以下规格图.
2、材质/颜色:PA66/本色,可跟据客户要求订做颜色。
3、产品材质特点:
产品材质特点
聚酰胺(PA,俗称尼龙)又翻译为耐纶。英文名称Polyamide(简称PA),
3.1.机械强度高,韧性好,有较高的抗拉、抗压强度。比拉伸强度高于金属,比压缩强度与金属不相上下,但它的刚性不及金属。抗拉强度接近于屈服强度,比ABS高一倍多。对冲击、应力振动的吸收能力强,冲击强度比一般塑料高了许多,并优于缩醛树脂。
3.2.耐疲劳性能突出,制件经多次反复屈折仍能保持原有机械强度。常见的自动扶梯扶手、新型的自行车塑料轮圈等周期性疲劳作用极明显的场合经常应用PA。
3.3.软化点高,1.86Ma条件下的纯PA66的热变形温度为75℃,耐热(如尼龙46等,高结晶性尼龙的热变形温度高,可在150度下长期使用.PA66经过玻璃纤维增强以后,其热变形温度达到250度以上)。
3.4.表面光滑,摩擦系数小,耐磨。作活动机械构件时有自润滑性,噪声低,在摩擦作用不太高时可不加润滑剂使用;如果确实需要用润滑剂以减轻摩擦或帮助散热,则水油、油脂等都可选择。从而,做为传动部件其使用寿命长.
3.5.耐腐蚀,十分耐碱和大多数盐液,还耐弱酸、机油、汽油,耐芳烃类化合物和一般溶剂,对芳香族化合物呈惰性,但不耐强酸和氧化剂。能抵御汽油、油、脂肪、酒精、弱堿等的侵蚀和有很好的抗老化能力。可作润滑油、燃料等的包装材料。
3.6.有自熄性,无毒,无臭,耐候性好,对生物侵蚀呈惰性,有良好的抗菌、抗霉能力。
3.7.有优良的电气性能。电绝缘性好,尼龙的体积电阻很高,耐击穿电压高,在干燥环境下,可作工频绝缘材料,即使在高湿环境下仍具有较好的电绝缘性。
3.8.制件重量轻、易染色、易成型。因有较低的熔融粘度,能快速流动。易于充模,充模后凝固点高,能快速定型,故成型周期短,生产效率高。
3.9.尼龙为韧性角状半透明或乳白色结晶性树脂,作为工程塑料的尼龙分子量一般为1.5-3万尼龙具有很高的机械强度,软化点高,耐热,磨擦系数低,耐磨损,自润滑性,吸震性和消音性,耐油,耐弱酸,耐碱和一般溶剂,电绝缘性好,有自熄性,无毒,无臭,耐候性好,染色性差。缺点是吸水性大,影响尺寸稳定性和电性能,纤维增强可降低树脂吸水率,使其能在高温、高湿下工作。尼龙与玻璃纤维亲合性十分良好。
尼龙中尼龙66的硬度、刚性最高,但韧性最差。各种尼龙按韧性大小排序为: PA66<PA66/6<PA6<PA610<PA11<PA12。
尼龙的燃烧性为UL94v-2级,氧指数为24-28,尼龙的分解温度>299℃,在449~499℃时会发生自燃。
尼龙的熔体流动性好,故制品壁厚可小到1mm。
本公司有多种不同长度型号的扣子,你也可以到网上查看,或旺旺(QQ)聊、来电咨询,我司专业人员会跟你详细说明,若无你满意的规格,可以为贵司定做。
~~~~~~~~~~~~~~~~~~~~~~~~~~~~~~~~~~~~~~~~~~~~~~~~~~~~~~~~~~~~~~
二、产品规格图、图片:

产品名称:文具扣 30系列
产品型号:CCB0103
产品规格表:
单位:mm
ITEM NO. | L |
CCB0103-30-0D5 | 0.5 |
CCB0103-30-1D0 | 1.0 |
CCB0103-30-1D5 | 1.5 |
CCB0103-30-2D0 | 2.0 |
CCB0103-30-2D5 | 2.5 |
CCB0103-30-3D0 | 3.0 |
CCB0103-30-3D5 | 3.5 |
CCB0103-30-4D0 | 4.0 |
CCB0103-30-4D5 | 4.5 |
CCB0103-30-05 | 5.0 |
CCB0103-30-06 | 6.0 |
CCB0103-30-08 | 8.0 |
CCB0103-30-10 | 10.0 |
CCB0103-30-12 | 12.0 |
CCB0103-30-30 | 30.0 |
注:可按照客户提供尺寸订做 | |
■材质: 环保POM PA66(防火等级94V-2)
■颜色: 可依客户要求定做
■特征:美观、重量轻、装配方便、推入式装配
■用途:适用于相本,笔记本,名片,画册等
找其它款式的请一直往下看
~~~~~~~~~~~~~~~~~~~~~~~~~~~~~~~~~~~~~~~~~~~~~~~~~~~~~~~~~~~~~~~~~~~~~~~~~~~~~~~~~~~~~~~~~~~~~~~~~~~~~~~~~~~~~~~~~~~






``````````````````````````````````````````````````````````````````````````````````````````````````````

附扭螺纹的款式图





~~~~~~~~~~~~~~~~~~~~~~~~~~~~~~~~~~~~~~~~~~~~~~~~~~~~~~~~~~~~~~~~~~~~~~~~~~~~~~~~~~~~~~~~~~~~~~~~~~~~~~~~~~~~~~~~~~~~
公司简介:
东莞市创驰塑胶制品有限公司位于广东省东莞市长安镇沙头大井街16号(358S道旁),工厂占地面积2500多平方米。创造奇迹,持续改进,用之于民,之所公司译名于创驰。公司是集精密产品,模具设计、销售、生产加工于一体。引进各种高精度模具制造,生产设备(火花机EMD、车床、铣床、精密摇磨、震雄注塑成型机)。大规模生产塑胶螺丝,螺母,塑胶文具扣,PCB间隔柱,塑胶铆钉,LED灯座,门扣,阻尼齿轮,光电系列,IC端子系列,配线器材,电子塑胶零件,橡胶制品等。广泛用于家用电器,通讯设备,手机,印刷行业等。
我们拥有宠大专业的设计及制造队伍,力求以精准的专业水平共创双赢,可以随时根据客户提供信息来完成。
公司秉承质量第一,客户至上的经营理念,全力为客户创造合格满意的产品,成为最可信赖的长期供应商。
公司远景:以行业精准水平打造塑胶紧固件领军企业
经营理念:质量第一,客户至上,诚信经营
质量方针:精益求精,提高品质,持续改进