长春茗允精密机械有限公司(
图纸及参数
)
手机:13057600135 电话:025-85982030
传真:025-86456010 QQ:2853636626
Email:704817724@qq.com



RE.F4-WH
通用配件供应意大利产品ELESA带电焊钢制支架的注模聚氨酯重载脚轮RE.F4-WH交期短一级代理标准件采购价格优惠长春茗允质量有保证
Technical information
轮面
注模聚氨脂,硬度Shore 95 A。
内芯
铸铁。
轮毂及轮轴
轮毂带有滚珠轴承。轮轴由精整后的精密镀锌钢管制成,表面经抛光处理,内置滚珠轴承和垫圈。滚珠轴承和垫圈由螺栓和螺母紧固。大载荷连续移动的理想解决方案。
标准型号
- PSL-WH:配备镀锌钢板固定底板支架的重载无刹车脚轮。
- SSL-WH:配备镀锌钢板活动底板支架的重载无刹车脚轮。
- SSF-WH:配备镀锌钢板活动底板支架的重载带刹车脚轮。
固定支架
电镀锌电焊钢制支架。该支架设计用于在承载高达9000N的载荷时,保持脚轮正常的机械运动性能,使之适用于重型工业场合以及严苛的工况,如侧方冲击和高速运动。
万向支架
支撑轴承和一枚圆锥形轴承可确保支架在满载状态下承受侧方冲击。带有润滑装置和防锁紧螺母松脱系统。
该支架设计用于在承载高达9000N的载荷,适用于重型工业场合以及严苛的工况,如侧向冲击和高速运动。
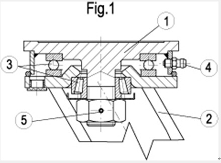
由下列部分组成(参见图1):
1)支架:带内置销的锻钢,表面电镀锌;
2)轮叉:双侧电焊于法兰上,表面电镀锌;
3)旋转系统:轴向推力球轴承和圆锥形滚珠轴承;
4)润滑装置;
5)锁紧螺母的防松脱系统。
后置刹车
可同时双重锁定滚轮和支架。
刹车使用简单高效:只需踩一下两个单独的踏板顶端,即可进 行制动和释放,操纵十分顺畅。
刹车性能可用一枚M8内六角螺栓来调节。
应用
适用于重型工业场合以及严苛的工况。注模聚氨酯脚轮平稳性佳、弹性高,耐磨性好。欲了解详情参见RE.F4 滚轮。
长春茗允精密机械有限公司—代理品牌产品
德国HALDER定位珠、弹簧柱塞、分割定位柱、分度销、快速插销、水平调整脚座、脚轮、支撑钉、手轮、把手、取手、压头、定位配件、夹持零件;
ELESA/GANTER人体工学把手,手轮,旋钮柱塞,分度销,油表,油镜,液位器等;
台湾GOODHAND快速夹钳,肘节夹钳,夹具及附件等;
TOHATSU弹簧,五金,脚座,把手,万向滚珠等;
德国GANTER弹簧柱塞,定位零件,模具标准件;
NNK快锁插销、快卸销、快拔销、快速释放销、制动销、球锁销及自攻螺套;钢丝螺套及安装工具,丝锥。
意大利ELESA手轮、手柄、旋钮、油帽、系列产品;
德国STABILUS气弹簧;
NORELEM机械操作件;
西班牙AZOL氮气弹簧;
公司产品广泛应用于汽车、机械及工业用零部件、模具、铁路机车、电子、通讯、重型机车等行业中,行销全国各地,为客户提供优质产品和优秀的解决方案。