长春茗允精密机械有限公司(
图纸及参数
)
手机:13057600135 电话:025-85982030
传真:025-86456010 QQ:2853636626
Email:704817724@qq.com
RE.F4-WEH
带电焊钢制支架的注模聚氨酯超重载脚轮


Technical information
轮面
注模聚氨脂,硬度Shore 95 A。
内芯
铸铁。
轮毂及轮轴
轮毂带有滚珠轴承。轮轴由精整后的精密镀锌钢管制成,表面经抛光处理,内置滚珠轴承和垫圈。滚珠轴承和垫圈由螺栓和螺母紧固。大载荷连续移动的理想解决方案。
标准型号
- PSL-WEH:配备电焊钢制粉末涂层固定底板支架的超重载无刹车脚轮。
- SSL-WEH: 配备电焊钢制粉末涂层活动底板支架的超重载无刹车脚轮。
- SSF-WEH: 配备电焊钢制粉末涂层活动底板支架的超重载带刹车脚轮。
固定支架
电焊钢制带深绿色粉末涂层支架。该支架设计用于在承载高达25000的载荷时,保持脚轮正常的机械运动性能,使之适用于重型工业场合以及严苛的工况,如侧方冲击和高速运动。
万向支架
支撑轴承和一枚圆锥形轴承可增强支架在满载状态下对侧方冲击的抵御。带有润滑装置和防锁紧螺母松脱系统。
该支架设计用于在承载高达25000N的载荷,适用于重型工业场合以及严苛的工况,如侧向冲击和高速运动。
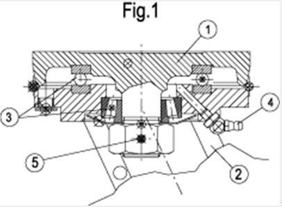
由下列部分组成(参见图1):
1) 支架:带内置销的锻钢,表面深绿粉末涂层;
2)轮叉:双侧电焊于法兰上,表面深绿粉末涂层;
3)旋转系统:轴向推力球轴承和圆锥形滚珠轴承;
4)润滑装置;
5)锁紧螺母的防松脱系统。
后置刹车
可同时双重锁定滚轮和支架。 刹车使用简单高效:只需踩一下两个单独的踏板顶端,即可进 行制动和释放,操纵十分顺畅。 刹车性能可用一枚M8内六角螺栓来调节。
应用
适用于重型工业场合以及严苛的工况。注模聚氨酯脚轮平稳性佳、弹性高,耐磨性好。欲了解详情参见RE.F4滚轮。
长春茗允精密机械有限公司—代理品牌产品
德国HALDER定位珠、弹簧柱塞、分割定位柱、分度销、快速插销、水平调整脚座、脚轮、支撑钉、手轮、把手、取手、压头、定位配件、夹持零件;
ELESA/GANTER人体工学把手,手轮,旋钮柱塞,分度销,油表,油镜,液位器等;
台湾GOODHAND快速夹钳,肘节夹钳,夹具及附件等;
TOHATSU弹簧,五金,脚座,把手,万向滚珠等;
德国GANTER弹簧柱塞,定位零件,模具标准件;
NNK快锁插销、快卸销、快拔销、快速释放销、制动销、球锁销及自攻螺套;钢丝螺套及安装工具,丝锥。
意大利ELESA手轮、手柄、旋钮、油帽、系列产品;
德国STABILUS气弹簧;
NORELEM机械操作件;
西班牙AZOL氮气弹簧;
公司产品广泛应用于汽车、机械及工业用零部件、模具、铁路机车、电子、通讯、重型机车等行业中,行销全国各地,为客户提供优质产品和优秀的解决方案。
备注:我公司单笔金额1000元以上,含运费。(混批金额达到1000元,也可含运费)